Part Number : 2SA1832-GR
Function :Audio Frequency General Purpose Amplifier Applications
Manufacturer : Toshiba
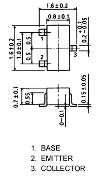
Pinout :
Description
High voltage and high current: VCEO= −50 V, IC= −150 mA (max)
• Excellent hFElinearity: hFE(IC= −0.1 mA)/ hFE(IC= −2 mA)
= 0.95 (typ.)
• High hFE: hFE= 70~400
• Complementary to 2SC4738
• Small package

2SA1832-GR Datasheet PDF Download
Other datasheets in the file : 2SA1832, 2SA1832-O, 2SA1832-Y, A1832



