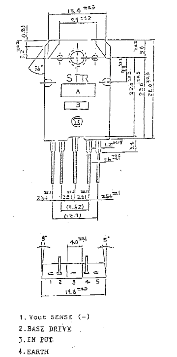
Part Number : STR54041
Function : Hybrid IC Voltage Regulator Module(NPN Triple Diffused for TV Switch Mode Power Supply)
Manufacturer : Sanken Electric co.,ltd.
Pinout :
Description
* Hybrid Voltage Regulator Module incorporated triple diffused planar transistor chips.
* Transfer Molded
* For TV Switch Mode Power Supply
* Fixed Output Voltage



