Part Number : CMOZ6L8
Function : CMOZ1L8 THRU CMOZ47L / SURFACE MOUNT LOW LEVEL SILICON ZENER DIODE
Manufacturer : Central Semiconductor
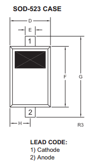
Pinout :
Description
The CENTRAL SEMICONDUCTOR CMOZ1L8 Series Low Level Zener Diode is a high quality voltage regulator in an epoxy-molded ULTRAmini package, designed for applications requiring an extremely low
operating current and low leakage.
Datasheet PDF Download
Other datasheets in the file :
CMOZ10L,CMOZ11L,CMOZ12L,CMOZ13L,CMOZ15L
