Part Number : AK8963
Function :3-axis Electronic Compass
Manufacturer : Asahi Kasei Microdevices
Pinout :
Description
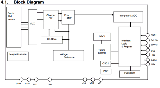
AK8963 is 3-axis electronic compass IC with high sensitive Hall sensor technology.
Small package of AK8963 incorporates magnetic sensors for detecting terrestrial magnetism in the X-axis, Y-axis, and Z-axis, a sensor driving circuit, signal amplifier chain, and an arithmetic circuit for processing the signal from each sensor. Self test function is also incorporated. From its compact foot print and thin package feature, it is suitable for map heading up purpose in GPS-equipped cell phone to realize pedestrian navigation function.


