Part Number : 2SJ184
Function : P-Channel MOS FET / High-Speed Switching
Manufacturer : NEC => Renesas Technology
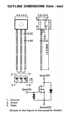
Pinout :
Description
The 2SJ184, P-channel vertical type MOS FET, is a switching device which can be dricen by 2.5V power supply.
As the MOS FET is driven by low voltage and does not require consideration of driving current, it is suitable for appliances including VTR camera and headphone stereos which need power saving.
Datasheet PDF Download
Other datasheets in the file :
2SJ184,2SJ184-T,2SJ184-T/JM,2SJ184/JM,J184
