Part Number : 2SC1971
Function : RF Power Transistor / NPN Epitaxail Planar Type
Manufacturer : MITSUBISHI ELECTRIC
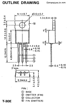
Pinout :
Description
2SC1971 is a silicon NPN epitaxail planar type transistor designed for RF Power Amplifiers on VHF band mobile radio applications.
– Emitter ballasted construction, gold metallization for high reliability and good performances.
– TO-220 package similar is combinient for mounting.
– 4 to 5 watts output power amplifiers in VHF band applications.

